|
00010200, 00010300,
|
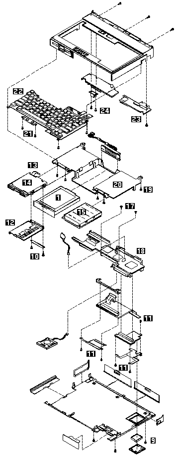
1. System Board
|
|
00010400, 00010700
|
|
|
00010800
|
1. System Board
2. Processor card
|
|
00011000
|
1. Go to 'Memory Checkout' before
replacing any FRUs.
2. Base Memory Card
3. IC DRAM Card
4. System Board
|
|
000113XX
|
1. System Board
2. Processor Card
|
|
000118XX
|
1. Clear Error Log. See 'System Error Log'
2. If the error remains, replace the FRUs
in the following order:
° Base Memory Card
° IC DRAM Card
NOTE: Error Log must be
cleared when a FRU is replaced.
|
|
00016100
|
1. See 'Checking the Backup Battery'
2. System Board
3. Voltage Converter
|
|
00016300, 00016400,
|
1. Set Configuration/Features
|
|
00016500, 00016900
(If 00016300 appears, set date and time first in the Reference Diskette.) (If setting configuration does (not solve the problem, see
'Checking the Installed Devices List'
|
2. System Board
3. Hard Disk Drive
4. Base Memory Card
5. IC DRAM Card
|
|
000171XX, 000172XX
|
1. System Board
|
|
00017300
(700, 700C Only) Before replacing a FRU, restore the system partition with the Ref.-Diskette V-1.1 or later.
See 'Installing a New Version
of the System Diskettes'
|
1. See '173 and 11350 Error Combination'
2. See 'Checking the Backup Battery'
3. Voltage Converter
|
|
00017400
(If Automatic Configuration does not solve the problem, run Advanced Diagnostic.)
|
1. Set Configuration/Features
|
|
000175XX, 00017700
|
1. System Board
|
|
00017800
|
|
|
000179XX
|
1. Run System Unit and Memory Diagnostic.
- or -
2. Select More utilities to clear the system error log.
|
|
000183XX
|
1. PAP (Privileged Access Password)
is needed to boot from the System Program.
|
|
000184XX, 00018500
|
1. System Board
|
|
000187XX
|
1. Set Configuration
2. System Board
|
|
000188XX
|
1. System Board
|
|
000189XX
|
1. Select More utilities
to clear the system error log.
|
|
00019000
|
1. Reseat System Board
2. Reseat CPU chip / Processor Card
3. System Board
|
|
00019102
|
1. Rerun diagnostics tests.
2. If error remains, see 000191XX.
|
|
000191XX
(Not listed above)
|
1. Reseat System Board
2. Reseat CPU chip / Processor Card
3. System Board
|
|
00019200
|
1. Voltage Converter
2. Keyboard Control Card
3. System Board
|
|
00019201
|
1. Voltage Converter
|
|
00019202
|
1. Run System Unit Diagnostic.
If this error message appears frequently, replace the Processor Card.
|
|
00019300, 00019301
|
1. System Board
|
|
00019305
|
|
|
00019302
|
1. Hard Disk Drive
2. System Board
|
|
00019303
|
1. System Board
2. Diskette Drive
|
|
00019304
|
1. PC Card
2. System Board
|
|
00019306
|
1. Keyboard Control Card
2. Keyboard
3. Pointing Device
|
|
00019400
|
1. Processor Card
|
|
000199XX
|
1. System Board
|
|
0001XXXX
(not listed above)
|
1. System Board
2. Processor Card
|
|
000215XX
(720, 720C only)
|
1. Reseat Base Memory Card (interface
connector on system board).
|
|
0002XXXX
(See 'Memory Checkout'
before replacing any FRUs.)
|
1. Base Memory Card
2. IC DRAM Card
3. System Board
|
|
.00030100, 00030500
(Power-on the computer) (before external devices.)
(See '1080 Keyboard Unit'
before replacing any FRUs.)
|
1. Keyboard Control Card
2. System Board
3. Keyboard
4. Numeric Keypad or Keyboard/Mouse Cable (if attached) - or - External Keyboard (if attached)
|
|
00030200, 00030300,
|
1. System Board
|
|
00030400
(See '1080 Keyboard Unit')
before replacing any FRUs.)
|
2. Keyboard Control Card
3. Numeric Keypad or Keyboard/Mouse Cable (if attached) or External Keyboard (if attached)
|
|
00030600
(See '1080 Keyboard Unit'
before replacing any FRUs.)
|
1. Keyboard
2. Numeric Keypad or Keyboard/Mouse Cable or External Keyboard (if attached)
3. Keyboard Control Card
4. System Board
|
|
00030700
|
1. External Keyboard
2. Keyboard/Mouse Cable
|
|
0004XXXX
|
1. System Board
2. Any Parallel Device
3. Communication Cable
|
|
000601XX
|
1. Diskette Drive
2. System Board
3. Diskette Drive Cable
|
|
000602XX
|
1. Defective Diskette
|
|
000628XX
|
1. Incorrect Diskette Media Type
2. Diskette Drive
3. System Board
4. Diskette Drive Cable
|
|
000655XX, 000662XX
|
1. System Board
|
|
000670XX - 000675XX
|
2. Diskette Drive
3. Diskette Drive Cable
|
|
0006XXXX
(Unsupported drive or cable)
|
1. Diskette Drive
2. System Board
3. Diskette Drive Cable
|
|
0007XXXX
|
1. Math Coprocessor
2. Processor Card
|
|
0011XX00
|
1. System Board
2. Any Serial Device
3. Communication Cable
|
|
0014XXXX
|
1. See 'Printer Checkout'
before replacing any FRUs.
2. Printer
3. System Board
|
|
00180100, 00186100
|
1. Replace the line
QEMM386.SYS with
QEMM386.SYS XBDA:L
in Config.sys.
|
|
0024XX00
|
1. Video Card
2. System Board
3. Voltage Converter (700C, 720C only)
|
|
0039G900
|
1. System Board
|
|
005002XX, 005006XX,
005008XX, 005041XX
|
1. See 'External Display Self-Test'
before replacing any FRUs.
2. Video Card
3. External Display
4. LCD
5. System Board
|
|
005004XX, 005010XX,
005030XX - 005032XX,
005051XX - 005062XX
|
1. Video Card
2. System Board
3. LCD
|
|
005009XX, 005040XX
|
1. See 'External Display Self-Test'
before replacing any FRUs.
2. External Display
3. Video Card
4. System Board
|
|
0080XXXX
|
1. System Board
2. PCMCIA Card Slot
|
|
0085XXXX
|
1. Do not replace any FRUs.
The installed Memory Expansion Adapter is not supported by IBM.
|
|
00860100, 00860200
(See '1080 Keyboard Unit'
before replacing any FRUs.)
|
1. Pointing Device
2. System Board
3. Numeric Keypad
|
|
00860300, 00860400
00862300, 00862400
(See '1080 Keyboard Unit'
before replacing any FRUs.)
|
1. System Board
2. Keyboard Control Card
3. Pointing Device
4. Keyboard (TrackPoint)
5. Numeric Keypad
|
|
00861100, 00861200
00861300
(See '1080 Keyboard Unit'
before replacing any FRUs.)
|
1. Keyboard Control Card
2. Keyboard (Pointing Stick)
3. System Board
4. Ext. Keyboard Cable
|
|
00861XXX
(not listed above)
(See '1080 Keyboard Unit'
before replacing any FRUs.)
|
1. Keyboard (Pointing Stick)
2. Keyboard Control Card
3. System Board
|
|
00862100, 00862200
(See '1080 Keyboard Unit'
before replacing any FRUs.)
|
1. Keyboard Control Card
2. System Board
3. Keyboard (TrackPoint)
|
|
00862500, 00862600
(See '1080 Keyboard Unit'
before replacing any FRUs.)
|
1. Keyboard (Pointing Stick)
2. Keyboard (TrackPoint)
3. Keyboard Control Card
|
|
c.0086XX00
(See '1080 Keyboard Unit'
before replacing any FRUs.)
|
1. Keyboard Control Card
2. Keyboard
3. System Board
|
|
010103XX - 010110XX,
010116XX - 010153XX,
010171XX
|
1. See 'Fax/Modem Checkout'
|
|
010436XX
|
1. System Board
2. Hard Disk Drive
|
|
0104XXXX
|
1. Hard Disk Drive
2. System Board
|
|
0129XXXX
|
1. Run System Board diagnostics
to clear the error log and retest
2. Select N to the question during
the System Board diagnostics.
3. Power-on the system. If the error remains, replace the Processor Card.
4. Repeat steps 1 and 2.
5. If the problem remains, replace the system board.
|
|
0130XXXX
|
1. Indicator Assembly
2. System Board
3. Keyboard Control Card
4. Hard Disk Drive
5. Diskette Drive
6. Diskette Drive Cable
7. Speaker
|
|
0137XXXX
|
1. Serial Adapter
2. System Board
3. Video Card
4. Any Serial Device
5. Communication Cable
|
|
0194XXXX
|
1. Do not replace any FRUs.
The installed Memory Expansion Adapter is not supported by IBM.
|
|
I99903XX, I99900XX
|
1. Reseat the hard disk drive
|
|
I99800XX
|
to ensure good connection.
See 'Set Startup Sequence'
2. Hard Disk Drive
3. System Board
|
|
I999XXXX
|
1. Restore the system partition from the Reference Diskette. |